中百集团股价暴涨背后的资金流向与经营困境
AI导读:
中百集团股价近期暴涨,自然人投资者大举买入,其中中小投资者成为主力。然而,公司经营状况并未改善,仍处于亏损状态。永辉超市已清仓中百集团股票。
近日,中百集团股价异军突起,其资金流向细节被深交所揭晓。数据显示,自11月28日至12月30日,中百集团股价累计飙升204.87%,期间自然人投资者大举买入185.14亿元,占比高达85.60%,其中,中小投资者成为买入主力,累计投入103.36亿元,占比47.79%,而机构投资者则累计买入31.15亿元,占比14.4%。
市场分析认为,中百集团股价的暴涨与刺激消费政策的预期紧密相关。然而,值得注意的是,尽管股价持续走高,中百集团的经营状况并未得到改善,仍处于亏损状态。此外,永辉超市此前已清仓中百集团,不再持有其A股股票。
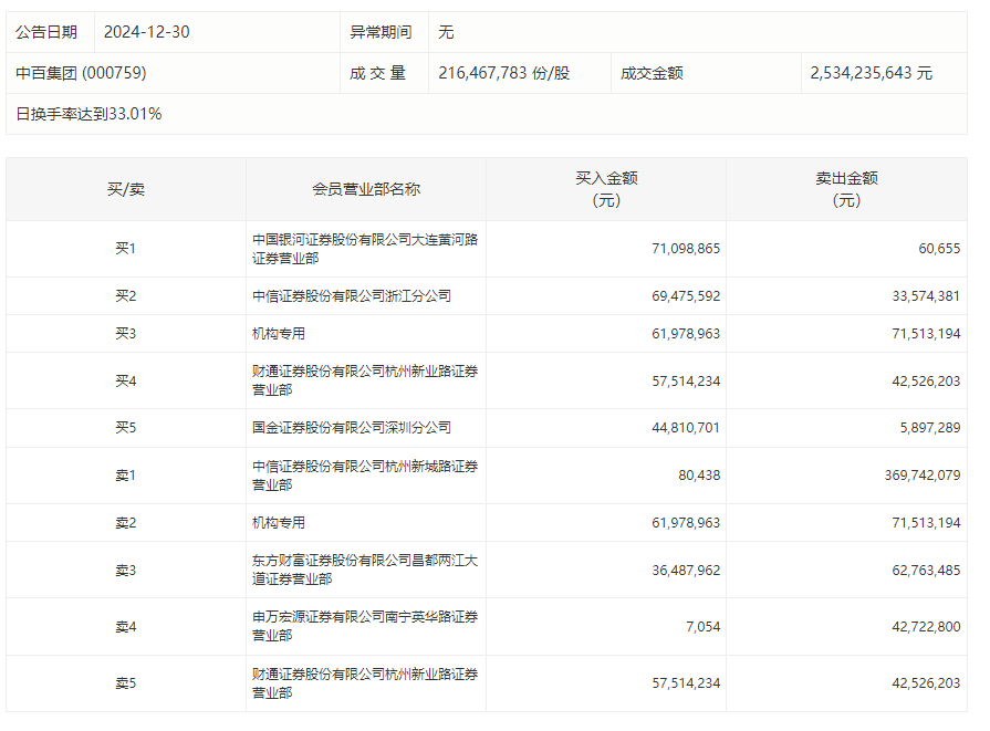
12月30日,中百集团股价再度涨停,全天换手率高达33.01%,成交额达到25.34亿元。龙虎榜数据显示,机构净卖出953.42万元,营业部席位合计净卖出2.78亿元。深交所信息显示,该股因日涨幅偏离值达10.32%、日换手率达33.01%而上榜。具体来看,上榜的前五大买卖营业部合计成交9.70亿元,其中净买入3.41亿元,净卖出6.29亿元。

据深交所披露,在股价异常波动期间,中小投资者成为了买入的主要力量。此外,证监会账户分类标准显示,中小投资者指的是持股市值300万元以下的自然人投资者。
近期,高层定调要大力提振消费,全方位扩大国内需求,同时,商务部等7部门联合印发的《零售业创新提升工程实施方案》也为零售业注入了新动力。然而,尽管政策利好,中百集团的经营状况却并未好转,数据显示,截至今年11月29日,中百集团的股东户数为33919户,且公司近年来业绩持续下滑。
在股价持续上涨的同时,中百集团频频发布风险提示公告,称公司经营情况正常,内外部经营环境未发生重大变化,且不存在应披露而未披露或处于筹划阶段的重大事项。同时,公司还就投资者关于并购重组等事项的提问进行了澄清。
从业绩表现来看,中百集团的经营状况令人担忧。数据显示,2023年,中百集团的营业收入仅为116.39亿元,净亏损高达3.38亿元。今年前三季度,公司营收同比下降11.50%,归母净亏损高达3.32亿元,三个季度的亏损金额已接近去年全年。
此外,在中百集团股价连续上涨之际,公司的重要股东永辉超市却选择大幅减持。12月18日,永辉超市发布公告称,已通过集中竞价方式累计出售中百集团共计6710.1287万股,占其股本的9.87%,出售金额约为4.40亿元。永辉超市表示,此举是为了聚焦主业,回收非核心战略相关的投资。

(文章来源:证券时报)
郑重声明:以上内容与本站立场无关。本站发布此内容的目的在于传播更多信息,本站对其观点、判断保持中立,不保证该内容(包括但不限于文字、数据及图表)全部或者部分内容的准确性、真实性、完整性、有效性、及时性、原创性等。相关内容不对各位读者构成任何投资建议,据此操作,风险自担。股市有风险,投资需谨慎。如对该内容存在异议,或发现违法及不良信息,请发送邮件至yxiu_cn@foxmail.com,我们将安排核实处理。

