A股市场普遍下跌,ST百利连续8涨停成焦点
AI导读:
12月31日,A股市场普遍下跌,上证指数、深证成指、创业板指及科创50指数均走低。ST百利连续8涨停成市场焦点,食品饮料行业主力资金净流入,而电子行业净流出最多。龙虎榜数据显示机构席位资金合计净卖出。
12月31日,A股市场遭遇普遍下跌,上证指数、深证成指、创业板指及科创50指数均呈现震荡走低态势。截至收盘,上证指数收跌1.63%,深证成指收跌2.4%,创业板指收跌2.93%,科创50指数收跌3.11%。沪深两市总成交额达到13457.63亿元,较前一交易日有所增加。
行业板块表现方面,电子、证券等行业领跌,其中电子、证券、计算机、教育、传媒、通信、有色金属、机械设备等行业跌幅居前;铜缆高速连接、存储芯片、华为概念等概念板块同样表现疲弱。相比之下,燃气、酿酒等行业则逆势上涨,培育钻石、白酒等概念板块走势活跃。涨停个股主要集中在机械设备、食品饮料、商贸零售等行业。
个股方面,沪深两市共有569只个股上涨,4500只个股下跌,涨停个股58只,跌停个股31只。涨停板封单量方面,帝欧家居、顺钠股份、平潭发展等个股封单量较大。从涨停板封单金额来看,顺钠股份、帝欧家居、闻泰科技等个股封单金额超过1亿元。
在连续涨停天数方面,ST百利连续8个交易日涨停,成为市场焦点。此外,东百集团、中百集团等个股也连续涨停。资金流向上,沪深两市主力资金净流出760.62亿元,其中创业板净流出275.29亿元,沪深300净流出226.92亿元,科创板净流出49.72亿元。食品饮料行业成为唯一主力资金净流入的行业,净流入金额为3.83亿元。而电子行业主力资金净流出最多,达到168.89亿元。
个股资金流向上,闻泰科技、建设工业、国星光电等34只个股主力资金净流入超过1亿元。尾盘资金流向上,平潭发展、招商银行、中国移动等22只个股尾盘主力资金净流入超过3000万元。另一方面,东方财富、中芯国际、同花顺等191只个股被主力资金净卖出超1亿元,其中东方财富净流出金额高达30.89亿元。尾盘主力资金净流出方面,东方财富、中信证券、汇金科技等60只个股尾盘主力资金净流出超过3000万元。
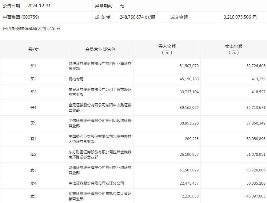
龙虎榜数据显示,机构席位资金合计净卖出约4.67亿元,其中净买入个股10只,净卖出个股10只。中百集团成为机构净买入最多的股票,净买入金额约4473.75万元。而淮河能源则是机构净卖出最多的股票,净卖出金额约2.06亿元。





郑重声明:以上内容与本站立场无关。本站发布此内容的目的在于传播更多信息,本站对其观点、判断保持中立,不保证该内容(包括但不限于文字、数据及图表)全部或者部分内容的准确性、真实性、完整性、有效性、及时性、原创性等。相关内容不对各位读者构成任何投资建议,据此操作,风险自担。股市有风险,投资需谨慎。如对该内容存在异议,或发现违法及不良信息,请发送邮件至yxiu_cn@foxmail.com,我们将安排核实处理。

