A股市场全面回调,沪深指数收跌,资金流向分化
AI导读:
12月31日,A股市场全面回调,上证指数、深证成指、创业板指及科创50指数均收跌。行业板块表现分化,电子、证券等行业领跌,燃气、酿酒等行业上涨。资金流向方面,沪深两市主力资金净流出,但食品饮料行业呈现净流入。个股涨跌互现,涨停跌停个股均有。
12月31日,A股市场遭遇全面回调,上证指数、深证成指、创业板指及科创50指数均呈现震荡下行的态势。截至收盘,上证指数报收3351.76点,下跌1.63%,成交额达到5625.84亿元;深证成指报收10414.61点,下跌2.4%,成交额为7831.79亿元;创业板指报收2141.60点,下跌2.93%,成交额为3521.99亿元;科创50指数报收988.93点,下跌3.11%,成交额为987.34亿元。沪深两市总成交额达到13457.63亿元,较前一交易日增加696亿元。
盘面上,多数行业板块表现不佳,电子、证券、计算机等行业领跌,其中,电子、证券、计算机、教育、传媒、通信、有色金属、机械设备等行业跌幅居前;铜缆高速连接、存储芯片、华为概念等概念板块同样表现疲弱。相比之下,燃气、酿酒等行业逆市上涨,培育钻石、白酒等概念板块表现活跃。涨停个股则主要集中于机械设备、食品饮料、商贸零售等行业。
个股方面,沪深两市共有569只个股上涨,4500只个股下跌,平盘个股39只,停牌个股13只。除新股外,共有58只个股涨停,31只个股跌停。从涨停板封单量来看,帝欧家居、顺钠股份、平潭发展等个股封单量较大,受到市场资金的追捧。而以涨停板封单金额计算,顺钠股份、帝欧家居、闻泰科技等个股封单金额超过亿元。
此外,市场资金流向方面,沪深两市主力资金净流出达到760.62亿元,其中创业板主力资金净流出275.29亿元,沪深300成份股主力资金净流出226.92亿元,科创板主力资金净流出49.72亿元。在行业层面,仅有食品饮料行业呈现主力资金净流入,其余30个行业均呈现净流出,其中电子行业净流出金额最高,达到168.89亿元。
个股资金流向方面,闻泰科技、建设工业、国星光电等34只个股获得主力资金净流入超过亿元。尾盘交易中,平潭发展、招商银行等22只个股获得主力资金净流入超过3000万元。另一方面,东方财富、中芯国际等191只个股被主力资金净卖出超过亿元,其中东方财富净流出金额最高,达到30.89亿元。
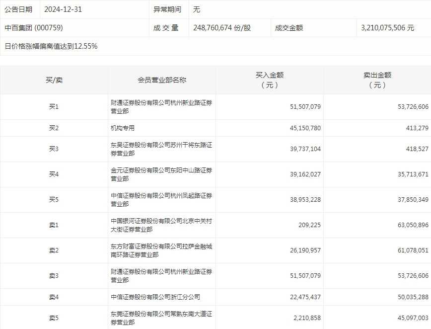
龙虎榜数据显示,今日机构席位资金合计净卖出约4.67亿元,其中净买入个股10只,净卖出个股10只。中百集团成为机构净买入最多的股票,净买入金额约4473.75万元。而淮河能源则成为机构净卖出最多的股票,净卖出金额约2.06亿元。






郑重声明:以上内容与本站立场无关。本站发布此内容的目的在于传播更多信息,本站对其观点、判断保持中立,不保证该内容(包括但不限于文字、数据及图表)全部或者部分内容的准确性、真实性、完整性、有效性、及时性、原创性等。相关内容不对各位读者构成任何投资建议,据此操作,风险自担。股市有风险,投资需谨慎。如对该内容存在异议,或发现违法及不良信息,请发送邮件至yxiu_cn@foxmail.com,我们将安排核实处理。