荣耀加速构建AI生态,IPO递表在即
AI导读:
荣耀正积极布局,多维度构建AI生态,寻求新的增长点。近日,荣耀参与成立深圳市人工智能终端产业私募股权投资基金,并计划适时推进上市流程。荣耀CEO李健表示,公司正加速向AI终端生态公司转型,未来涉及AI和具身智能等多个领域。
IPO递表在即,荣耀正积极布局,多维度构建AI生态,寻求新的增长点。
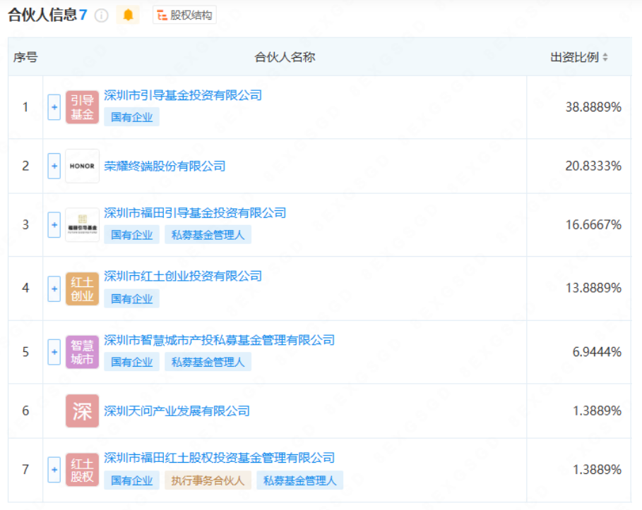
企查查App显示,近日,深圳市人工智能终端产业私募股权投资基金合伙企业(有限合伙)正式成立,出资额高达14.4亿元,经营范围涵盖私募基金从事股权投资、投资管理、资产管理等活动。值得注意的是,荣耀正是其出资人之一。
合伙人信息显示,该企业由深圳市引导基金投资有限公司、荣耀终端股份有限公司、深圳市红土创业投资有限公司等共同出资设立。
分析人士指出,荣耀此举体现了其对下一代智能终端的深刻洞察,并明确释放出在AI时代寻求第二增长曲线的意图。近日,荣耀终端股份有限公司CEO李健在接受上海证券报等媒体采访时透露,荣耀正加速向AI终端生态公司转型,从AI视角重塑产品形态与商业模式,并对公司组织架构进行了大幅调整,新成立了AIOS、AI硬件、AI平台等部门,未来将深入探索AI和具身智能等多个领域。
荣耀方面表示,公司已完成股份制改造,并已聘请专业中介机构启动上市筹备工作,计划适时推进上市流程。
以AI及生态视角规划未来
李健强调,数字AI时代已经到来,荣耀新团队自今年1月起积极变革,以提升认知维度,特别是AI思维的引入。他提到,AI将深刻改变终端的未来形态,为此荣耀成立了新产业孵化部,专注于从AI视角探索荣耀产品的未来形态及商业模式。
李健还介绍了荣耀在产品及研发部门的调整情况,新成立的AIOS、AI硬件、AI平台等部门旨在顺应AI时代潮流。新产业孵化部作为荣耀探索新产业的先锋,未来将涉足AI、具身智能等多个领域,助力荣耀打造多条增长曲线。
在生态思维方面,李健倡导行业伙伴团结合作,以开放思维共创共享,加强生态建设。荣耀已与深圳多家AI终端企业建立了良好合作关系,践行了生态思维。
李健指出,在认知升维和能力驱动下,荣耀在技术、产业、生态方面实施三条变革主线。技术变革方面,荣耀密切关注国内外AI进展;产业变革方面,荣耀凭借算法和技术优势及硬件实力,正向AI终端生态公司转型,打造多条增长曲线;生态变革方面,荣耀已开始部署,并以开放心态学习。
争做产业链“主干”
针对“AI手机暂未形成颠覆性体验”“AI功能非用户购机首选”等质疑,李健回应称,AI时代不仅关乎手机,而是随时随地接入各种设备的场景体验。
李健表示,荣耀致力于成为产业链领域的“主干”,不仅自身要茁壮成长,还要团结全球科技力量,为合作伙伴提供支持,促进上下游产业的繁荣发展。
“荣耀将通过开放、共创、共享不断拓展产业边界,与合作伙伴携手共建AI生态。”李健强调。
为构建AI生态,成为优秀的终端生态公司,荣耀在关键技术方面不懈努力,同时考虑从硬件生态和软件生态两方面进行平台开放,惠及中小企业。
在2025全球人工智能终端展暨第六届深圳国际人工智能展览会上,荣耀展示了多项AI技术成果。荣耀终端股份有限公司产品线总裁方飞表示,荣耀将采用“1+3+N”创新模式,通过HONOR AI Connect平台开放AI能力给生态合作伙伴,并通过技术品牌赋能、渠道赋能、生态赋能三种模式支持合作伙伴。
方飞透露,荣耀将拥抱开放协议,打通三方生态,计划2025年完成超300个MCP服务接入,实现逾5000个AI服务接入;2026年扩展至逾2000个MCP服务接入,实现20000多个AI服务接入,打造具有泛化能力的通用型端侧智能体。
(文章来源:上海证券报)
郑重声明:以上内容与本站立场无关。本站发布此内容的目的在于传播更多信息,本站对其观点、判断保持中立,不保证该内容(包括但不限于文字、数据及图表)全部或者部分内容的准确性、真实性、完整性、有效性、及时性、原创性等。相关内容不对各位读者构成任何投资建议,据此操作,风险自担。股市有风险,投资需谨慎。如对该内容存在异议,或发现违法及不良信息,请发送邮件至yxiu_cn@foxmail.com,我们将安排核实处理。

