科创板IPO新进展:半导体企业募资热潮与未盈利企业过会
AI导读:
本周科创板17家IPO企业有新进展,8家已问询,3家提交注册,5家已受理,新芯股份审核中止。半导体行业迎来IPO热潮,6家企业拟募资超240亿元,摩尔线程拟募资80亿元成今年科创板最大IPO项目。禾元生物以科创板第五套标准过会,彰显政策导向。
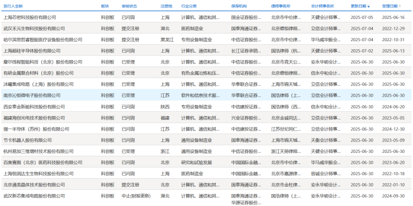
本周(6月30日至7月6日),科创板17家IPO企业现新进展。其中,芯密科技等8家企业已问询,禾元生物等3家企业提交注册,摩尔线程等5家企业已受理以及新芯股份审核状态为中止。
从证监会行业分类来看,本周更新发审动态的17家企业,强一股份等6家均为计半导体和集成电路、百奥赛图等3家为医药制造业,其余分散在通用设备制造业、专用设备制造业等。保荐机构方面,4家IPO企业的保荐机构是中信证券,审核更新的IPO项目最多。

6家半导体行业公司拟募资超240亿元
本周,半导体行业迎来了一波IPO热潮,6家半导体企业更新了科创板IPO申请进展。
具体来看,6家涵盖GPU芯片、半导体材料及设备制造等细分领域的企业密集获得上交所IPO问询或者受理等,拟募集资金总额合计超过241.01亿元。

其中,最受市场关注的当属两家GPU芯片设计企业——摩尔线程和沐曦股份。6月30日,两家公司同日获得上交所科创板受理。摩尔线程拟募资80亿元,成为今年以来科创板拟募资金额最大的IPO项目。
摩尔线程成立于2020年,主要从事GPU及相关产品的研发、设计和销售。从财务表现看,摩尔线程营收增长迅猛,2022年至2024年,公司营业收入由0.46亿元增长至4.38亿元,复合增长率为208.44%,但公司尚未实现盈利,同期归母净利润分别为-18.40亿元、-16.73亿元和-14.92亿元,近三年累计研发投入38.09亿元。
沐曦股份此次IPO拟募资39.04亿元,该公司专注于全栈高性能GPU芯片及计算平台的研发。
沁恒微则在连接技术和微处理器领域深耕多年,公司IPO申请于6月30日获科创板受理,拟募资9.32亿元。
沁恒微主要产品包括接口芯片和互连型MCU芯片,主要应用于工业控制与连接、物联组网和互联、计算机及手机周边等领域。
2022年至2024年,沁恒微业务经营持续向好,营业收入分别为23825.64万元、30761.07万元和39679.53万元,归母净利润分别为5910.41万元、7239.67万元和10399.18万元。
强一股份专注于服务半导体设计与制造,聚焦晶圆测试核心硬件探针卡的研发、设计、生产与销售。公司曾进行多轮融资,股东名单中不乏知名机构的身影,甚至包括华为。
强一股份IPO于2024年12月30日获得上交所受理。此次冲击上市,公司拟募集资金15亿元,扣除发行费用后将投资于南通探针卡研发及生产项目、苏州总部及研发中心建设项目。
上海超硅主要从事全球半导体市场需求最大的300mm和200mm半导体硅片的研发、生产、销售。同时,该公司还从事包括硅片再生以及硅棒后道加工等受托加工业务,已发展为国际知名的半导体硅片厂商。
此次IPO,上海超硅拟募资49.65亿元,投向集成电路用300mm薄层硅外延片扩产项目、高端半导体硅材料研发项目,以及补充流动资金。
一家半导体硅片上市公司人士对《科创板日报》记者分析认为,大硅片产品是半导体制造中的基础材料,其质量和性能直接影响芯片的性能和可靠性,为了满足国内市场的巨大需求,近年来,国内企业加大了对半导体硅片的研发投入和生产力度等,减少进口依赖。
此外,上交所网站显示,6月30日,新芯股份更新了上交所科创板IPO审核状态为“中止(财报更新)”。国泰海通证券和华源证券为其保荐机构,拟募资48亿元。
证监会同意禾元生物等3科创板IPO提交注册
本周,科创板IPO提交注册的3家企业分别是:北京通美、禾元生物和思哲睿。
招股书显示,禾元生物是一家创新型生物医药企业,拥有植物生物反应器技术平台。公司建立了“一个独特植物表达体系,两个技术平台”的核心技术体系:利用水稻胚乳细胞生物反应器高效重组蛋白表达平台和重组蛋白纯化技术平台,建立了药品、药用辅料及科研试剂的产业化体系。
《科创板日报》记者注意到,禾元生物此次过会,是今年6月18日证监会主席吴清在陆家嘴论坛宣布在科创板设置科创成长层,并重启未盈利企业适用科创板第五套标准上市以来,首家以科创板第五套标准过会的企业。
有相关业内人士向《科创板日报》记者表示,本次禾元生物成功过会,是落实证监会《关于在科创板设置科创成长层增强制度包容性适应性的意见》(下称“《指导意见》”),重启未盈利企业适用科创板第五套标准上市,增强对优质科技型企业的制度包容性适应性又一典型案例,充分彰显了尊重科技创新规律,更好支持优质科技型企业发展的政策导向。
资料显示,北京通美科创板IPO于2022年1月获受理,同年7月“过会”,8月“提交注册”,但随后没有更新的进展。截至今年6月30日,该公司更新了审核状态为“提交注册”。
此次IPO,北京通美拟募资11.67亿元。其中4.43亿元补充流动资金,其余分别投向砷化镓半导体材料项目、磷化铟(晶片)半导体材料项目和半导体材料研发项目。
据悉,砷化镓半导体材料项目总投资11.21亿元,将建设形成年产50万片8英寸砷化镓衬底及年产400万片砷化镓衬底(折合2英寸)的生产能力;磷化铟(晶片)半导体材料项目总投资1.81亿元,将建设形成年产81万片折合2英寸磷化铟衬底的生产能力。
国产手术机器人独角兽思哲睿,科创板IPO迎来新进展。7月4日晚间,上交所官网显示,思哲睿科创板IPO已更新提交相关财务资料。
招股书显示,思哲睿是一家专注于手术机器人研发、生产和销售的高新技术企业,致力于为医生打造智能手术工具,为患者提供综合诊疗方案,让各类外科手术更精准、更便捷。
在行业人士看来,手术机器人的发展离不开精准的技术和流畅的商业化道路。尽管思哲睿在高科技医疗领域具备了一定的优势,但思哲睿的产品商业化之路还很长,如何将科研成果转化为市场竞争力,才是其未来发展的成功关键。
(文章来源:科创板日报)
郑重声明:以上内容与本站立场无关。本站发布此内容的目的在于传播更多信息,本站对其观点、判断保持中立,不保证该内容(包括但不限于文字、数据及图表)全部或者部分内容的准确性、真实性、完整性、有效性、及时性、原创性等。相关内容不对各位读者构成任何投资建议,据此操作,风险自担。股市有风险,投资需谨慎。如对该内容存在异议,或发现违法及不良信息,请发送邮件至yxiu_cn@foxmail.com,我们将安排核实处理。

