潜能恒信涨停,游资活跃度上升
AI导读:
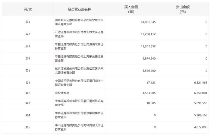
潜能恒信2月28日涨停,龙虎榜数据显示全天成交1.39亿元,净买入8159.22万元。知名游资现身龙虎榜,显示其对市场走势的积极判断,市场交投活跃。
潜能恒信2月28日涨停,龙虎榜数据显示,上榜营业部席位全天成交1.39亿元,占当日总成交金额比例为49.96%。其中,买入金额为1.1亿元,卖出金额为2864.33万元,合计净买入8159.22万元。股市热点中,游资活跃度显著上升。
具体来看,知名游资现身龙虎榜,炒股养家(华鑫证券有限责任公司上海茅台路证券营业部)净买入987.43万元,显示其对市场走势的积极判断。此外,国泰君安证券咸宁咸宁大道证券营业部、开源证券西安西大街证券营业部分别买入6182.10万元、1725.01万元;中国银河证券厦门湖滨中路证券营业部、深股通专用则分别卖出652.15万元、635.01万元,市场交投活跃。

(文章来源:界面新闻)
郑重声明:以上内容与本站立场无关。本站发布此内容的目的在于传播更多信息,本站对其观点、判断保持中立,不保证该内容(包括但不限于文字、数据及图表)全部或者部分内容的准确性、真实性、完整性、有效性、及时性、原创性等。相关内容不对各位读者构成任何投资建议,据此操作,风险自担。股市有风险,投资需谨慎。如对该内容存在异议,或发现违法及不良信息,请发送邮件至yxiu_cn@foxmail.com,我们将安排核实处理。

